
下面,以河南省教育裝備行業協會發布團體標準T/HEEIA 0001—2022《中小學及幼兒園教室照明驗收規范》為例,解讀相關要求如下
覆蓋范圍

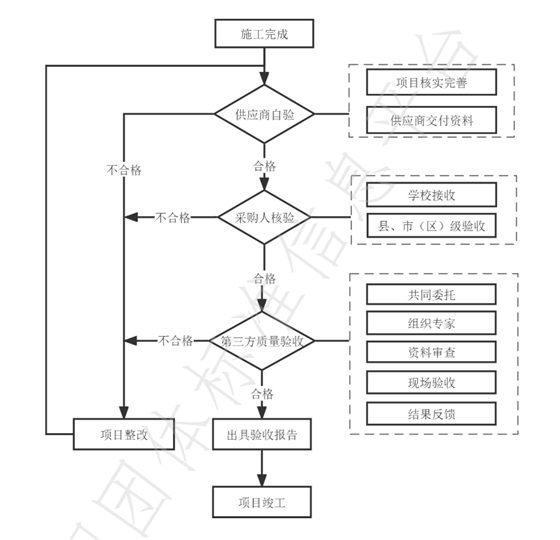
驗收流程

供應商交付資料

資料審查

2024年06月27日09:02

下面,以河南省教育裝備行業協會發布團體標準T/HEEIA 0001—2022《中小學及幼兒園教室照明驗收規范》為例,解讀相關要求如下
覆蓋范圍

驗收流程

供應商交付資料

資料審查

全國政協委員李心: 加快推進教室照明規范化改造廣東:茂名信宜二中將預算103.581萬元用于改造教室照明華輝教育照明鑄就明亮學習天地,引領教室照明新風尚校園要節能,“照明燈”上有學問2024年,五大熱門照明「細分市場」方向